语言选择: 中文版 line 英文版

卧式管道泵

  • ISW系列卧式管道离心泵
  • ISW系列卧式管道离心泵
ISW系列卧式管道离心泵ISW系列卧式管道离心泵

ISW系列卧式管道离心泵

ISW型卧式管道离心泵产品概述:

ISW型卧式管道离心泵根据IS型离心泵与立式泵的独特结构组合设计,并严格按照国际标准ISO2858和最新的国家管道离心泵标准JB/T53058-93进行设计制造的高效节能产品。该泵采用国内先进水力模型优化设计而成。同时根据使用温度、介质等不同在ISW型基础上派生出热水泵、高温泵、化工泵、油泵等,是目前国家标准定型推广产品。

ISW型卧式管道离心泵型号意义:

undefined

ISW型卧式管道离心泵工作条件:

1、 吸入压力≤1.0Mpa,或泵系统最高工作压力≤1.6Mpa,即泵吸入口压力+泵扬程≤ 1.6Mpa、泵静压试验压力为2.5Mpa,订货时请注明系统工作压力。泵系统工作压力大于 1.6Mpa时应在订货时另行提出。以便在制造时泵的过流部件和联接部分采用铸钢材料。
2、 环境温度<40℃,相对湿度<95%。
3、 所输送介质中固体颗粒体积含量不超过单位体积的0.1%,粒度<0.2mm.
注:如使用介质为带有细小颗粒,请在订货时说明,以便采用耐磨式机械密封。

ISW型卧式管道离心泵产品用途:

1、 ISW型管道离心泵,供输送清水及物理化学性质类似于清水的其他液体之用,适用于工业和城市给排水高层建筑增压送水,园林灌溉,消防增压及设备配套,使用温度T:≤80℃。
2、 ISWR型热水循环泵广泛适用于能源、冶金、化工、纺织、造纸、以及宾馆饭店等锅炉高温热水增压循环输送及城市采暖系统循环用泵,ISWR使用温度T:≤120℃。
3、 ISWH型卧式化工泵,供输送不含固体颗粒,具有腐蚀性,粘度类似于水的液体,适用于石油、化工、电力、造纸、食品、制药和合成纤维等部门,使用温度T:-20℃-120℃。
4、 ISWB型卧式油泵,供输送汽油、柴油、煤油等石油产品,使用温度T:-20℃-120℃。

ISW型卧式管道离心泵产品特点:

1、运行平稳:泵轴的绝对同心度叶轮优异的动静平衡,保证平稳运行,绝无振动。
2、滴水不漏:不同材质的硬质合金密封,保证了不同介质输送均无泄漏。
3、噪音低:两个低噪音轴承下的水泵,运转平稳,除电机微弱声响,基本无噪声。
4、故障率低:结构简单合理,关键部分采用国际一流品质配套,整机无故障工作时间大大提高。
5、维修方便:更换密封、轴承、简易方便。
6、占地更省:出口可向左、向右、向上三个方向,便于管道布置安装,节省空间。

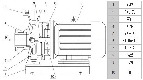
ISW型卧式管道离心泵结构图:

undefined

结构见图:该机组由泵、电机和底座三部分组成。泵结构包括泵体、叶轮、泵盖、机械密封等零部件组成。泵为单级单吸卧式离心式,泵体和泵盖两部份是从叶轮背面处剖分的,即为后开门结构形式。大多数泵的叶轮前、后均设有密封环,并在叶轮后盖板上设有平衡孔,以平衡作用在转子上的轴向力。泵进口为轴向水平吸入,出口为垂直向上布置。泵和电机同轴,电机轴伸端采用双角接触球轴承结构可部分平衡泵的残余轴向力。泵与电机直联,安装时无需校正,具有共同底座,并用JG型隔振器进行隔振。