Language: Chinese line English

Square KGV

  • Square  knife gate valve
  • Square  knife gate valve
Square  knife gate valveSquare  knife gate valve

Square knife gate valve

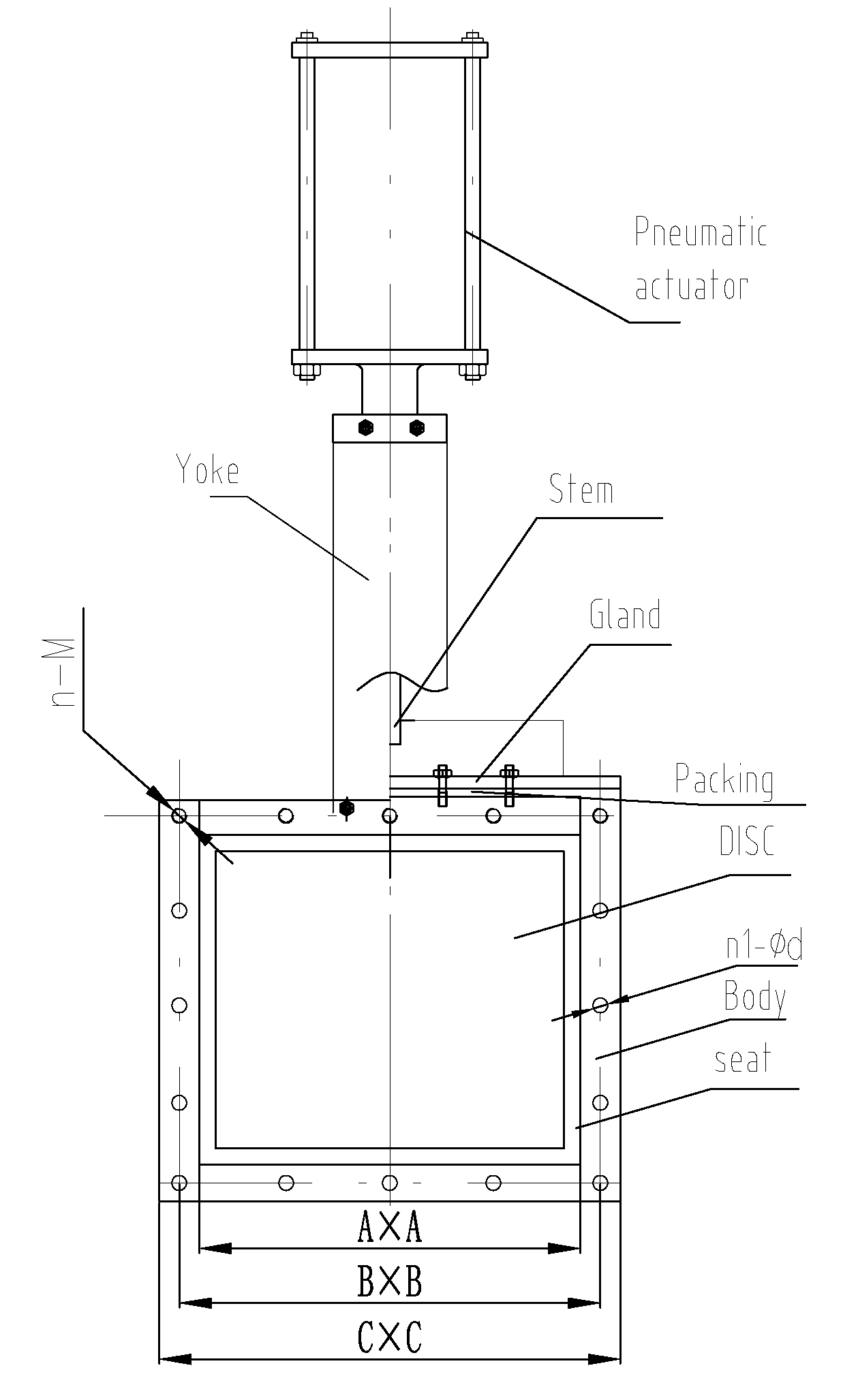
  • Product description: Q235, SS304,SS316, 904L,SS2205 ect. Size Range: DN50 (2'')-DN2000 (80'')
  • INQUIRY

Deisgn std: MSS SP 81, BS, JIS , DIN ,GB ect.

End connection: ANSI 150, JIS10K, PN10/PN16  etc.
Seat material: NBR, EPDM, PTFE, VITON ,METAL  etc.
Operation: rising handle wheel, no-rising handle wheel, gear, pneumatic, electric actuator, hydraulic,  Lever, etc.

Testing

Testing includes a body shell test, a seat test and a cycling test to insure proper functioning of moving parts.
• Standard Shell test: Hydro test at 1.5 times the rated CWP (cold working pressure) – Zero allowable leakage
• Standard Resilient Seat test: Hydro test at 15 psi (1 bar) and rated CWP
Max. operating pressures for  Knife Gate Valves:
DN050-DN250:  10 bar
DN300-DN400:    6 bar
DN450:             5 bar
DN500-DN600:    4 bar
DN700-DN1200:   2 bar